火花机夹头工作原理
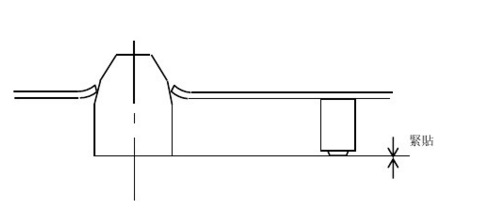
1.垂直将电极座轻放上去,在夹具未锁紧时,电极座的4个六角钉未完全贴合卡盘基准面。

2.当电极座被锁紧时,电极座的4个六角钉完全贴合基准平面,电极座下的定位片会发生柔性变形,从而起到分中作用。

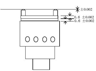
3.为什么定位片的变形能够产生高精度?因为定位片的分中公差和4个长方孔的公差都在±0.002mm以内,在可以保证电极座的重复定位公差。

4.每个电极座在出货前,检测人员将会进行调校,确保公差在±0.002mm之内,当工件装在电极座上进行加工时,锣出来的工件平面度也在±0.002mm以内。

5.在锁紧电极座过程中,先装好拉钉并锁紧,垂直轻放到定位座上并锁紧;当锁紧时钢珠会顶到拉钉环,借助拉钉环的斜面产生向下的压力,从而锁紧电极座。
